1answer.
Ask question
Login Signup
Ask question
All categories
  • English
  • Mathematics
  • Social Studies
  • Business
  • History
  • Health
  • Geography
  • Biology
  • Physics
  • Chemistry
  • Computers and Technology
  • Arts
  • World Languages
  • Spanish
  • French
  • German
  • Advanced Placement (AP)
  • SAT
  • Medicine
  • Law
  • Engineering
Lady_Fox [76]
4 years ago
4

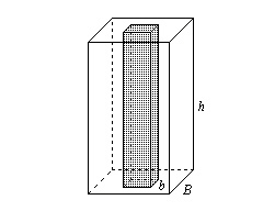
The figure below shows a container that is a square prism with base side length B and a hollow section (shaded region) that is a

square prism with base side length b. If the height h of both prisms is the same, write an expression to represent the volume of the container. Express your answer in completely factored form. 

Mathematics
2 answers:
oksano4ka [1.4K]4 years ago
8 0
<span>       The volumes would be calculated as: (the Base area)* (the height) ;
 assuming equal units;
 and the volume would be expressed in:  "units</span>³ " ; or, "cubic units".
____________________________________________________________
    Note that EACH of these square prisms have a "square" as the base;  and a square has the same length as the width ; 
____________________________________________________
So the base area of the square prism with side length, "<span>B", would
    be: "B * B" ; or, "B</span>² " .  The height would be, "h".
<span>______________________________________________________
The volume would be expressed as:  V = B</span>² * h  ; or, " V = B² h" .
 
In completely factored form, the volume would be expressed as:
_____________________________________
              V = B * B * h .
__________________________________________________

<span>Likewise, the volume for the "shaded" square prism would be:
______________________________________
       V = b</span>² * h ;  or,  " V = b² h " .
<span>_____________________________________
In "completely factored form", the volume could be expressed as:
__________________________________________
                  V = b * b * h  .
_</span>____________________________________________
zimovet [89]4 years ago
4 0

we know that

The volume of a square prism is equal to

V=A*H

where

A is the area of the base of the prism

H is the height of the prism

The volume of the container is equal to the volume of the larger prism minus the volume of the smaller prism

Step 1

Find the volume of the larger prism

V=A*H

In this case

A=B^{2}\ units^{2}

H=h\ units

V=B^{2}*h\ units^{3}

Step 2

Find the volume of the smaller prism

V=A*H

In this case

A=b^{2}\ units^{2}

H=h\ units

V=b^{2}*h\ units^{3}

Step 3

Find the volume of the container

The volume of the container is equal to the volume of the larger prism minus the volume of the smaller prism

so

V=(B^{2}*h)\ units^{3}-(b^{2}*h)\ units^{3}

Simplify

V=[B^{2}-b^{2}]*h\ units^{3}

Difference of squares

V=[B-b]*[B+b]*h\ units^{3}

therefore

<u>the answer is</u>

V=[B-b]*[B+b]*h\ units^{3}


You might be interested in
Plz help! Question in picture. What is the slope?
slava [35]

Answer:

7

Step-by-step explanation:

To find the slop, use (rise/run)

The y goes from 0 to 7/3

The x goes from 0 to 1/3

This means it would be (7/3)/(1/3)

This equals 7 as when you divide fractions, the second fraction goes to its reciprocal and you multiply

7/3 * 3/1

You can eliminate both 3 leaving you with 7/1 which is 7

7 0
3 years ago
The most appropriate unit of measure to describe the distance around the outside of a small picture frame would be the ______ .
hammer [34]

The most appropriate unit of measure to describe the distance around the outside of a small picture frame would be the perimeter.

5 0
3 years ago
Read 2 more answers
Hello, please answer the following
zhannawk [14.2K]

Answer:

im not ok really and i don't know

Step-by-step explanation:

4 0
3 years ago
Read 2 more answers
Express the shaded part of the picture as a fraction
Zinaida [17]
So because there are 4 squares like 4 parts of this figure and just one is shaded so the right answer will be 1/4 what mean 1 from 4 is the shaded part 

so choice D. is right 

hope this will help you 
8 0
3 years ago
Read 2 more answers
Find the area of the triangle 10.4 ft 16.9 ft =
KonstantinChe [14]

Answer:

Step-by-step explanation:

Area = 0.5(base)(height)

= 0.5(16.9)(10.4)

= 87.88 sq ft

4 0
3 years ago
Read 2 more answers
Other questions:
  • Solve 2p = 18<br><br> Help!!!!!!
    13·2 answers
  • Convert a length of 8 cm into meters:<br><br> 0.0008 m<br><br> 0.008 m<br><br> 0.08 m<br><br> 0.8 m
    15·2 answers
  • jim began to bike a 173 mile bicycle trip to build up stamina for a for a triathlete competition.​ Unfortunately, his bicycle ch
    5·1 answer
  • A surveyor is trying to find the length of a lake. He finds a baseline distance AB of 125 m. Angle A is measured to be 41.6° and
    13·1 answer
  • Factor 25x2 + 10x + 1.<br> (5 x + 1)2<br> (25 x + 1)( x + 1)<br> (5 x + 1)(5 x - 1)
    8·1 answer
  • PLEASE HELP Consider these functions f(x)=x+1
    10·1 answer
  • (m) + (m + 2) + (m + 4)
    14·1 answer
  • Completa con las cifra para que cumpla con las condiciones 54_6_ _ es divisible por 4 y por 3​
    5·1 answer
  • Find the scale factor
    14·1 answer
  • Select all that apply:
    13·1 answer
Add answer
Login
Not registered? Fast signup
Signup
Login Signup
Ask question!