1answer.
Ask question
Login Signup
Ask question
All categories
  • English
  • Mathematics
  • Social Studies
  • Business
  • History
  • Health
  • Geography
  • Biology
  • Physics
  • Chemistry
  • Computers and Technology
  • Arts
  • World Languages
  • Spanish
  • French
  • German
  • Advanced Placement (AP)
  • SAT
  • Medicine
  • Law
  • Engineering
xxMikexx [17]
3 years ago
8

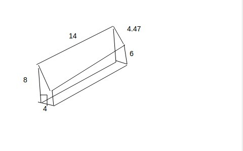
Find the total surface area of a trapezoidal prism. Please help. Picture below.

Mathematics
1 answer:
sineoko [7]3 years ago
3 0
The total surface area would be 370.58 square units.
You might be interested in
Jake made a total of 7 copies at a copy shop, with some being black-and-white copies and some being color copies. Black-and-whit
Arada [10]
Jake spent a total of 70 cents.
b = black-and-white = 8 cents
c = color = 15 cents

70 = 8b + 15c

he made a total of 7 copies
b + c = 7

system of equation:
70 = 8b + 15c
b + c = 7

--------------------------

b + c = 7
b + c (-c) = 7 (-c)
b = 7 - c

plug in 7 - c for b

70 = 8(7 - c) + 15c
Distribute the 8 to both 7 and - c (distributive property)

70 = 56 - 8c + 15c
Simplify like terms

70 = 56 - 8c + 15c
70 = 56 + 7c

Isolate the c, do the opposite of PEMDAS: Subtract 56 from both sides

70 (-56) = 56 (-56) + 7c
14 = 7c

divide 7 from both sides to isolate the c

14 = 7c
14/7 = 7c/7
 c = 14/7
 c = 2

c = 2
---------------

Now that you know what c equals (c = 2), plug in 2 for c in one of the equations.
b + c = 7
c = 2
<em>b + (2) = 7
</em><em />Find b by isolating it. subtract 2 from both sides
b + 2 = 7
b + 2 (-2) = 7 (-2)
b = 7 - 2
b = 5

Jake made 5 black-and-white copies, and 2 color copies

hope this helps
8 0
4 years ago
Read 2 more answers
30. A box weighing 30 kilograms contains several
Yuri [45]

Answer:

Step-by-step explanation:

30 kg - 4.3 kg = 25.7 kg

25.7 kg - 0.4 kg = 25.3 kg

25.3/2.3 = 11

There are 11 student books in the box.

6 0
3 years ago
What is the minimum point of the graph???
Natasha2012 [34]

Answer:

(-2,1)

Step-by-step explanation:

Since this is an upwards opening parabola, the minimum point is at the vertex

We can find the x coordinate of the vertex by

y = 2x^2 +8x +9

where a=2  b =8 and c =9

x = -b/2a

x = -8/(2*2)

  = -8/4 = -2

The x coordinate is -2

Now substitute this in to find the y coordinate

y = 2(-2)^2 +8(-2)+9

  = 2*4 -16+9

  8-16+9

  =1

The vertex = (-2,1), which is the minimum point

8 0
4 years ago
Read 2 more answers
Which of the following values is equal to − (−3.7)?<br><br> −3.7<br> 0<br> 3.7<br> 4 (not it)
bogdanovich [222]
3.7

I hope this helps! Negatives cancel out negatives
4 0
3 years ago
Read 2 more answers
What is the answer for this question?
Anna35 [415]
The answer is B because they are alternating exterior angles
3 0
3 years ago
Read 2 more answers
Other questions:
  • How do you graph y-2x=2
    7·2 answers
  • A box with a square base has sides of 5" and is 8" tall.<br><br> What is its volume?
    7·1 answer
  • If you sleep 33% of the day how many hours do you sleep
    7·2 answers
  • What is the value of f(x) = 9^x when x = -2?<br><br> A) 1/81<br> B) 81<br> C) 1/18<br> D) 18
    11·1 answer
  • M(9, 8) is the midpoint of RS. The coordinates of S are (10, 10). What are the coordinates of R?
    7·1 answer
  • How can I solve 20% of 15?<br> Please help and please explain. I need this now!
    7·2 answers
  • Identify the coefficients: 7g + 2t - 17
    9·1 answer
  • Is the ratio 15:12 equivalent to these? Explain your reasoning.
    14·1 answer
  • 9. The coffee shop on the corner of the street has 14 cheese croissants and 21 plain croissants. If
    11·1 answer
  • Decide whether the estés are equivalent
    15·2 answers
Add answer
Login
Not registered? Fast signup
Signup
Login Signup
Ask question!